ИБП60К источник питания с резервированием
Описание блока питания ОВЕН ИБП60К
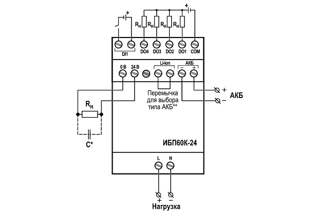
ОВЕН ИБП60К предназначен для использования в качестве резервированного источника вторичного питания при работе от сети и комплекта аккумуляторных батарей (АКБ). ИБП60К-24 является частью «Экосистемы- 210» компании ОВЕН и рекомендуется для совместного применения с программируемыми логическими контроллерами ПЛК210 и модулями ввода/вывода Мх210 в промышленности и других отраслях народного хозяйства.

Преимущества блока питания ИБП60К
Особенности и преимущества ИБП60К:- Питание нагрузки стабилизированным напряжением 24 В (при наличии напряжения питающей сети) или с использованием свинцово-кислотных либо литий-ионных (Li-ion) АКБ.
- Автоматический переход на резервное питание нагрузки постоянным напряжением от АКБ при отключении напряжения питающей сети или понижении его уровня ниже допустимого.
- Контроль наличия внешней АКБ.
- Оптимальный заряд АКБ с ограничением тока заряда при наличии напряжения питающей сети.
- Защита прибора и нагрузки от короткого замыкания (КЗ) в нагрузке (путем ограничения выходного тока) и от неправильного подключения (переполюсовки) клемм АКБ.Защита
- АКБ от глубокого разряда в случае отсутствия напряжения питающей сети (нагрузка отключается от АКБ при снижении напряжения на клеммах батареи до критического уровня).
- Восстановление работоспособности прибора в случае отсутствия напряжения питающей сети.
- Световая индикация режимов работы прибора.
- Информирование контролирующих устройств о режиме работы прибора.
Технические характеристики блока питания ОВЕН ИБП60К
